International
© Promotech
16.07.2025

Heavy-Duty Auto-Feed Plate Beveller

The Promotech ABM-50 DD Vario is a self-propelled, heavy-duty bevelling machine engineered to produce bevels up to 50 mm wide – without thermal distortion or a heat-affected zone (HAZ). The ABM-50 DD Vario delivers accurate, efficient and repeatable results, whether used for preparing structural elements in large-scale fabrication projects or for fine-tuning weld joints in a workshop setting. 

Auto-feed drive system allows ABM-50 DD Vario to travel along the workpiece at speeds of up to 1.2 m/min, reducing operator effort and delivering consistent results across long plate lengths. In addition, the spring-loaded castors on the trolley compensate for surface irregularities or misalignment between the plate and floor, ensuring smooth, steady operation during the bevelling process.

Clean, cold bevels

Unlike thermal cutting, the ABM-50 DD Vario uses a high-performance rotary milling head with indexable cutting inserts to create clean, cold bevels. This mechanical process prevents the formation of heat-affected zones (HAZ), maintaining the structural integrity and mechanical properties of the base metal.

© Promotech
ABM50 Vario inserts © Promotech

The milling head features five four-edged indexable inserts, which can be rotated to maximize tool lifespan and reduce downtime. Various insert types are available, optimized for specific materials, guaranteeing stable operation and a fine surface finish across diverse steel categories.

© Promotech
© Promotech
Adjustable feed and spindle speed

With variable spindle speed ranging from 500 to 1450 rpm and adjustable feed rate, ABM-50 DD Vario allows for easy cutting parameters optimization to suit various steel grades. For operations focused solely on carbon steel, a fixed-speed version – the ABM-50 DD beveller – is also offered. Spindle rotational speed (without load) for ABM-50 DD is fixed at 1450 rpm (50 Hz) or 1750 rpm (60 Hz). ABM-50 DD is a cost-effective alternative when variable cutting parameters are not required.

Continuous bevel angle adjustment

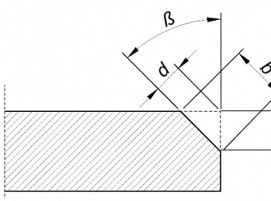
The ABM-50 DD Vario offers continuous, stepless bevel angle adjustment from 15° to 70°, enabling users to tailor the bevel geometry according to project requirements. The resulting bevel shape depends on the selected angle (β), bevel height (h), and depth (d).

Real-Time load monitoring with LED indicators

A built-in LED load monitoring system uses green, yellow, and red lights to show the current load level, helping prevent motor overload and protect the milling system under varying load conditions. By combining cold milling technology with adjustable operating parameters and compatibility with various materials, ABM-50 DD Vario presents a highly efficient, reliable alternative to manual or thermal edge preparation—cutting down on time, labour, and cost.

Key performance specifications:
  • Self-propelled operation with auto-feed:
  • Speed up to 1.2 m/min
  • Stepless bevel angle adjustment: 15°–70°
  • Continuously adjustable bevel width: up to 50 mm at 45°
  • Plate thickness range: 8–80 mm
  • Height adjustment: 840–1040 mm from floor level (for top-edge bevelling)
  • LED overload monitoring system
  • Milling head equipped with 5 pcs of 4-sided indexable cutting inserts
  • Stationary operation for machining small workpieces

(Source: Promotech)

Schlagworte

BevellerBevellingCuttingMillingRotary CutterRotary MillingWelding

Verwandte Artikel

The eighth edition of Joining Smart Technologies will take place on May 20 and 21, 2026. Key topics are set to include sustainability, challenges currently facing international companies, and the impact that new technologies such as AI are having on joining technology.
06.03.2026

Sustainability and New Technologies in Joining

On May 20 and 21, 2026, the Fronius site in Sattledt, Austria, will be the centre of the action for experts in joining technology working in the automotive industry.

AI Auto Body Construction Automotive Joining Joining Technology Robotics Robots Sustainability Welding
Read more
Speedglas Team (left to right): Mats Svensson, Kristina Magnusson, Nichlas Sjöselius, Erik Lindquist, Marcus Wiederkehr, Anders Grönberg, Carina Haglund and Stefan Henriksson
02.03.2026

World of Welding Helmets: Interview Series – Part 4

In this last part of the interview series, Anders Grönberg from 3M Speedglas elaborates on the global market shift and which factors will shape the future.

Development Field Trials Global Welding Market KI Marketing Campaign Personal Protective Equipment Safety Requirements Specification Technology Training Welders Welding Welding Application Welding Equipment Welding Helmet Welding standards Workplace Safety
Read more
01.03.2026

JOIN-TRANS 2026: 8th European Conference "Joining and Construction of Railway Vehicles"

On May 7 and 8, 2026, ECWRV, SLV Halle togehter with GSI SLV Türkiye will host the event on location in Antalya or online.

Conference DVS ECWRV European Committee for Welding on Railway Vehicles German Welding Society GSI Hybrid Event Joining Online Railway SLV SLV Halle GmbH Welding
Read more
This Ureol mold for laying the CFRP fabric for a flying wing drone was manufactured with maximum efficiency using the Blockbuster, a roughing and finishing tool for plastic block materials.
28.02.2026

Hufschmied at the JEC World 2026

Hufschmied Machining systems will be presenting their products at JEC World in Paris from March 10 through 12, 2026.

Cutting Fibre Reinforced Plastics Finishing Joining Plastics Machining Milling Plastics Tools Ultrasonic Cutting Systems
Read more